 BTC/HKD+0.67%
BTC/HKD+0.67% ETH/HKD+0.74%
ETH/HKD+0.74% LTC/HKD+1.05%
LTC/HKD+1.05% ADA/HKD-0.31%
ADA/HKD-0.31% SOL/HKD-0.31%
SOL/HKD-0.31% XRP/HKD-0.54%
XRP/HKD-0.54%NFT生態在迅速增長,并且構成了以太坊鏈上gas消耗的重要部分。NFT生態系統仍處于年輕態并相對缺乏根基,并且由于NFT領域很大一部分屬于非金融性質,因此更需要避免高額費用,這使得轉移到layer2成為主要目標。然而,這就拋出了如何轉移到layer2的問題。一個簡單的提議是通過社會性協調轉移到一個特定的rollup平臺(例如Arbitrum,因為目前已經支持通用智能合約部署),但這樣做也有幾處劣勢:所有目前支持EVM的主要rollup平臺都有后門、中心化排序或其他輔助措施,將整個生態系統轉移到單個rollup是有風險的,而rollup將如何升級這些功能還存在不確定性;NFT生態系統最終可能成長到單個rollup無法安全承載的體量;NFT生態系統的任何部分,甚至整個NFT生態系統,都不是封閉的;他們將需要與以太坊生態系統的其他部分進行互操作本文提出了一個使NFT友好跨rollup并使其遷移到整個layer2生態中的提案。提議解決方案一
Vitalik Buterin:中心化的任何東西都是有風險的:金色財經報道,以太坊創始人Vitalik Buterin在社交媒體上稱,“默認情況下,中心化的任何東西都是有風險的,使用“DeFi和自我托管的精神”在本周表現非常好,但請記住它也有風險,智能合約代碼中的錯誤。”
Vitalik表示“重要的是要防范它,保持代碼簡單、審計、形式驗證等、深度防御。我最擔心的是,如果我們在兩年后的ZK-rollup中擁有100億美元,并且由于電路約束代碼或其周圍的EVM封裝器中的錯誤而被黑掉。對于后者,保持簡單并進行形式驗證。”[2022/11/16 13:13:32]
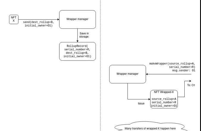
NFT可以在單個rollup中進行初始注冊,然后通過創建wrapperNFT(封裝NFT)在不同的rollups(或者是底層鏈)中轉移。NFTwrapping過程如下:在RollupA上,將NFT(設為X)發送到封裝管理器合約(wrappermanagercontract),指定(i)目標Rollup和(ii)初始所有者。加密箱合約(lockboxcontract)存儲一條記錄,為X分配一個新的序列號R,并保存目標Rollup(設為B)和目標Rollup的初始所有者(設為01)。在RollupB上,任何人都可以使用RollupB上的封裝管理器合約創建wrapperNFT。創建一個wrapperNFT需要指定源Rollup和序列號。要創建X的一個“有效”wrapperNFT,只能由指定的所有者和通過聲明(R,A)作為序列號和源rollup完成。注意,有可能會創建一個指向無內容的無效wrapperNFT,而RollupB無法分辨有效和無效。封裝管理器合約存儲(序列號、源Rollup、初始所有者)值組并防止使用同一個值組創建多個wrapperNFT。要從加密箱中提出NFT,RollupB上的wrapped-X的當前所有者必須將其發送回封裝管理器,后者發布收據說明“序列號為R、源rollupA和初始所有者01的NFT已經解除封裝,以及潛在的新所有者02”。加密箱合約可以在收到rollupB上收據的證明之后將NFTX交由02,并根據其存儲的信息檢查序列號、源Rollup和初始所有者,并驗證NFT的轉移。請注意,提取NFT存在時間延遲,因為OptimisticRollup類解決方案的狀態根需要大約一周的延遲才能最終確定,以便驗證收據。到目前為止,更快地進行多跳的唯一方法是進行多層封裝。
Vitalik Buterin 回應推特改名,“真實姓名”并不代表護照姓名:6月10日消息,以太坊創始人 Vitalik Buterin 發推解釋推特名更改為“豚林 vitalik.eth”的原因。Vitalik 稱,請不要使用“真實姓名”來指代護照姓名,你的政府無權定義你“真正”是誰。如果你在大多數日常互動中使用不同的名字,那就是你的真實姓名。[2022/6/11 4:17:39]
   
   
比升資本合伙人Vito:Filecoin礦工和算力要提供可靠存儲能力應對監管:金色財經現場報道,4月23日,數御未來——2021數據與存儲產業峰會在成都舉辦。在主題為《區塊鏈視角看分布式存儲的市場價值》的圓桌中,比升資本合伙人Vito指出,Filecoin賽道崛起的原因在于,從其自身發展來看,在FIL主網上線之前,已經有很多機構進場布局這個賽道;從散戶的角度來看,存儲和計算、通訊相比,認知門檻會更低,從社會現實來講,海量數據時代需要分布式存儲。
對于分布式存儲的監管問題,當海量數據進入后,一定會有專業合規的服務商來做這個事情。對于現在投資算力和礦工,所要做的是提供可靠的存儲能力。[2021/4/23 20:52:01]
用戶要驗證wrappedX是否合法,需要自己驗證RollupB上的狀態和RollupA上的收據。拓展:增加跨rollup轉賬
動態 | OKEx將于14點暫停VITE的充提服務:據官方消息,為支持VITE主網切換,OKEx于2019年09月23日14:00(HKT)暫停VITE的充提,待切換完成后開放。[2019/9/23]
在rollupB上,wrapped-X的所有者可以將其發送給封裝管理器,并附上一條指令發布不同的收據“序列號為R、源RollupA和初始所有者為01的NFT剛剛轉移到RollupC,以及潛在的新所有者02”。在RollupC上,任何人都可以通過指定原始源Rollup(在目前示例中為RollupA)、序列號和初始所有者來制作wrapped-X對象,并且RollupC上的此wrapped-X可以進行自由交易。但是一旦如此,提出wrapped-X需要發布跨rollup轉移產生的所有收據(當前實例中為2個)。
聲音 | Vitalik評論澳本聰轉賬假新聞:不要在沒有親自驗證原文鏈接的情況下相信推特上的截圖:針對“澳本聰從最大BTC地址向幣安轉出5萬BTC事件”,Primitive Ventures的創始合伙人萬卉在推特上表示:“這個伎倆很容易被許多詐騙者所使用,很多中國加密媒體都通過微信上面的圖片傳播突發新聞,而不是傳播新聞鏈接。所以任何人都可以使用相同的主題模板,然后PS一條假新聞。”以太坊創始人Vitalik今日在推特上評論稱,我們迫切需要經過網站驗證且有數字簽名的截屏,這也會讓智能合約預言機更容易些。他還配上一張P圖,圖中美國總統特朗普表示,不要在沒有親自驗證原文鏈接的情況下相信推特上的截圖。[2019/5/30]
   
   
請注意為了簡單起見,“提款”本身不再是跨rollup的操作,而是是通過跨rollup完成的,在rollupA上創建wrapped-X(X的同一個rollup),然后單獨進行一步unwrapping(解除封裝)操作。實際上,當NFT從一個rollup轉移到另一個rollup時,轉移路徑上的鏈會產生一串收據,該收據鏈中的每一個收據都被鏡像到rollupA,并且在未來,當其他rollup的狀態根最終確定時,這些收據將在某個時間點按序被處理(在短期內可以通過Kate承諾進行空間優化,長遠來看可以通過ZK-SNARK證明整條收據鏈)。用戶要驗證wrappedX的真實性,需要驗證所有路徑rollup反映了跨rollup轉移的整個收據鏈(或者至少是繼上一個收據之后已經鏡像到rollupA的收據鏈)。擴展2:在底層鏈上優化發行gas
所有NFT都可以這種方式發行:由以太坊底層鏈上的加密箱“擁有”。為了優化gas的效率,加密箱合約將具備生成一套序列號并將其傳輸到rollup的功能。實際上,所有NFT都是預先創建的,但尚未分配“意義”給其中任何一個(可以想象成有2*256個尚未分化的“干細胞”NFT),并且它們以批量形式轉移到rollup。“發行”過程現在就變成了分配意義的過程。這可以通過在收據中傳遞“含義哈希”來完成,與所有者傳遞的形式相同:如果NFT沒有意義(是一個"干細胞"),所有者可以為其分配一個含義,使其成為一個具有“差異性”的NFT。底層鏈只有在驗證收據鏈后才知道NFT的含義,直到分配含義為止(實際上,收據驗證必須是ZK-SNARK的才具備可行性)。這允許所有NFT都在底層鏈中“扎根”,而不是rollup。這對于處理rollup故障、因其他原因不可用或是應用需要永久遷移到其他域的情況來說很有幫助。
撰文:IanKane本文編譯自DappRadar隨著新的NFTs與日俱增,Gas戰爭愈演愈烈。與DeFidapps交互的活躍錢包數量在8月份下降了17%,而與此同時,NFT的炒作不斷增加.
1900/1/1 0:00:00撰文:PaulVeradittakit,區塊鏈投資機構PanteraCapital合伙人編譯:PerryWang盡管多鏈項目僅僅在幾年前還屬于逆勢而上,但加密行業現在似乎已經在期待「多鏈未來」.
1900/1/1 0:00:009月24日,中國人民銀行等十部委聯合發布《關于進一步防范和處置虛擬貨幣交易炒作風險的通知》,其中再次重申虛擬貨幣不具有法償性.
1900/1/1 0:00:00根據富達數字資產公司2021年機構投資者數字資產研究的新見解,大多數美國和歐洲機構投資者(84%)有興趣購買持有數字資產的機構投資產品,而在美國,投資者更喜歡通過傳統金融公司獲取這些產品.
1900/1/1 0:00:00文:MARCELPECHMAN編譯:Zion責編:karen在過去的40天里,以太坊一直呈小幅上漲趨勢,大部分時間都處在一個狹窄的通道.
1900/1/1 0:00:00DeFi已經歷了逾一年的井噴式發展。從穩定幣板塊的Maker,到借貸板塊的Compound、Aave,再到DEX板塊里的Uniswap,自去中心化金融的概念興起以來,龍頭項目們往往會作為增長引擎.
1900/1/1 0:00:00