BTC/HKD-5.33%
ETH/HKD-6.27%
LTC/HKD-3.56%
ADA/HKD-5.96%
SOL/HKD-9.83%
XRP/HKD-4.72%比特幣供應減半的概念就是自2009年比特幣推出以來,每四年新比特幣的供應就會減半。

我們之前提到過的,自2009年比特幣發行開始,每個礦工開采區塊獲得獎勵50個比特幣。2012減半為25個,2016再次減半為12.5個。下一次減半計劃在2020年5月。減半的實際時機取決于比特幣的開采能力,并不是四年這個時間截點。比特幣規定每210,000個區塊被開采就會發生一次減半,因為每個區塊開采的平均時長為10分鐘,導致每四年發生一次比特幣減半的現象。
比特幣供應曲線
下圖列出了比特幣的供應曲線。紅線為比特幣的通貨膨脹,藍線為比特幣基礎貨幣。如您所見,直到2013年,比特幣的發行量都在急劇增加。目前新供應量每年約為3.5%,并將在2020年5月降至1.75%,在2024年降至0.83%。
DeGodsNFT創始人Frank宣布即將推出de[id] v1.0版本:金色財經報道,據DeGodsNFT創始人Frank推特消息,Frank宣布即將推出de[id] v1.0版本,目標是制作個人資料。[2023/6/5 21:15:41]

2020年5月的時候會發生什么?
像2016年那樣,減半可能會引起媒體的廣泛關注。但請記得,我們持有該資產應以其稀缺性為根據,而非投機。到2020年,它將成為有史以來最稀缺的資產。這聽起來很夸張,但卻是事實,因為比特幣的通脹率將大大低于黃金的通脹率。
我們可以看一下2019年第三季度。在一整個季度中,比特幣總共被開采了84,000個,價值約8.42億美元。聽已經很多了,但想象一下光是GrayscaleInvestmentTrust和Square兩家公司就在同一季度出售了價值4億美元的比特幣。也就是說僅是一個局部地區的兩家業務就消耗了比特幣整個季度全部供應的50%。在這種情況下,我們不難想象它2019年的價格的趨勢。
數據:BTC活躍度達到2年低點:金色財經報道,Glassnode數據顯示,BTC活躍度(Liveliness)達到2年低點,數值為0.604。[2023/2/27 12:31:06]
話雖如此,我們并不是說比特幣供應減半價格就會上漲一倍。有很多因素都在影響著價格,我們來一一來看。
礦工和減半
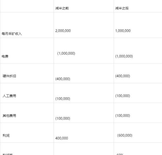
比特幣礦工通過解決區塊難題來收取區塊獎勵和交易費用。這個工作十分有利可圖,但需要在IT基礎架構上大量投資。如下表,目前比特幣采礦的業務利潤率大概為20%。是個回報還不錯的投資。

一旦減半,比特幣礦工開采每區塊獎勵由12.5降為6.25個比特幣。假設比特幣價格不變,那礦工們的收入減半,整個業務也馬上變的虧損了,因為成本結構是基本不變的。那么會導致礦工因為現金流難以維持運營,而將持有的比特幣銷到市場上來緩解現金流上的壓力。
數據:BTC巨鯨1LQoW兩天內累計增持879枚BTC:8月24日消息,據Tokenview鏈上數據顯示,比特幣鯨魚1LQoWist8KkaUXSPKZHNvEyfrEkPHzSsCd今日于06:17:34增持165枚BTC,近兩天內累計增持879枚BTC。當前該鯨魚地址余額為134,395.78BTC,持有量排名第三。[2022/8/24 12:45:09]
也就是說,礦工減產的經濟后果,極有可能是比特幣價格短期內下跌。當然,這并不是最后結果,它只會使路徑變得有些曲折。也就是說,短期內新比特幣供應的減少可能會導致更多比特幣投入市場。
市場壓力
在傳統金融中,一旦市場受到壓力,有一個最終的貸款人可以為市場提供流動性。傳統的金融市場有各種各樣的緩沖機制來阻止市場的異常你看今年美國回購市場壓力,就被美聯儲通過大量印鈔輕輕松松解決了。我們支持美聯儲反對的一切,但也必須承認,它的干涉的確緩解了市場壓力。雖說有時候這種壓力是必要而且有益的。
Valuechain報告:銀行業使用的能源是比特幣的56倍:6月16日消息,IT 工程師、密碼學家和顧問Michel Khazzaka發表的一份研究報告計算出,比特幣支付的效率比傳統金融系統高一百萬倍。此外,銀行業使用的能源是比特幣的56倍。
Khazzaka于2021年底創立了支付咨詢公司Valuechain,他提出了一種替代劍橋比特幣電力消耗指數(CBECI)提供的能源估計值的方法。(Cointelegraph)[2022/6/17 4:33:18]
比特幣的市場就沒有這些干預。它是一個24小時交易的市場,而且交易永遠不會中斷。我們也不知道這種大型的供應沖擊將如何影響期貨,價格,市場或一般交易者。
上次減半的時候發生了什么?

看到2012年和2016年的數字,可能會讓比特幣投資者對即將發生的減半十分興奮。2012年,比特幣價格在前六個月內從5美元上漲至12美元,上漲了2.3倍;2016年,比特幣價格從350美元上漲至650美元,上漲了1.7倍。這樣的漲幅,很可能會再次吸引投機性投資,而那些投機性投資者會在大約一個月前離開市場。所以如果比特幣價格會在減半6周前開始下跌,請不要驚訝。

結論
比特幣的生態系統要比我們平常談到的更為復雜。礦工是生態系統的核心,減半對他們而言可能會造成很大問題。如果礦工現金流產生問題,他們很有可能會把手上的比特幣拋到市場上來解決現金流壓力,導致短期價格下降。此外,減半事件很可能會吸引大量投機者,他們會試圖在減半之前撤走。
因此,千萬不要自然的假設2020年5月之后比特幣會立即出現強勢的價格走勢,這可能會發生,但不太可能會立即發生。需要耐心觀察。
最終,供需決定價格。這是無可爭議的。短期的供求因素可能會影響價格,但不能改變大勢。歷史上,比特幣價格最強勁的漲幅總是發生在減半之后的一年。

我們一直在金融市場里強調,一只股票過去的表現不能用來預測它的未來。事實也確實如此,但我們還需承認,當一個東西的供應減少時,它也通常會變得更有價值。
BTC價格分析: 比特幣對美元的交易價格正跌破8800美元和9000美元。價格目前正在下跌,似乎掙扎在8840美元的水平附近.
1900/1/1 0:00:00比特幣應該被認為是數字黃金還是數字現金?現在是時候設置記錄了。最初,比特幣被發明為數字形式的貨幣。這個新生項目背后的想法很簡單但很有吸引力.
1900/1/1 0:00:00比特幣再次逼近1萬美元,當然,你想知道接下來會發生什么。2020年在很多方面都是比特幣的特殊年份,其中之一就是減半。下一個減半預計發生在2020年5月12日,所以讓我們仔細看看接下來會發生什么.
1900/1/1 0:00:00在過去的24小時交易中,EOS的價格小幅上漲了0.20%。目前,加密貨幣在過去7個交易日內進一步追漲9-15%后,價格在5.66美元附近交易.
1900/1/1 0:00:00自:頭等艙 比特幣和其他加密貨幣挖礦一直是個起伏不定的行業。挖礦利潤一直在變化,網絡難度、價格波動和減半等因素正在不斷改變挖礦收入。更復雜的是,這些因素對每臺礦機都有不同的影響.
1900/1/1 0:00:00Ripple強調了衛報發布的一份新報告,該報告支持SWIFT傳統全球支付網絡已經習以為常的一系列延遲和錯誤.
1900/1/1 0:00:00