BTC/HKD+0.39%
ETH/HKD+0.35%
LTC/HKD+0.82%
ADA/HKD+1.13%
SOL/HKD+0.83%
XRP/HKD+0.51%我們需要將NFT轉移到第2層生態系統以降低費用。然而,這樣正確做到這一點需要良好的跨Rollup可移植性標準,從而生態系統可以避免被鎖定在一個特定的L2中。——VitalikButerin
NFT生態系統正在迅速發展,已經成為以太坊鏈gas消耗的重要組成部分。NFT生態系統的年輕化和相對缺乏根基,以及由于NFT的很大一部分的非金融性質而更需要避免高額費用,這也使得NFT成為轉移到第2層網絡的主要目標。然而,這就提出了如何將NFT遷移到Layer2的問題。
一個簡單的提案是:在社區內協調將NFT遷移到單個Rollup平臺,但這存在一些重要的缺點:
所有現有的支持EVM的主要Rollup平臺都有后門、集中排序或其他實驗性功能,將整個生態系統交給單個Rollup是有風險的,而Rollup將如何超越這些功能存在不確定性。
輝瑞支持的VitaDAO投票決定創建營利性公司以資助長壽研究:金色財經報道,輝瑞支持的 VitaDAO 成員周三發布推文稱,為了彌補 VitaDAO 的資金缺口,目前正在討論建立一家美國營利性公司的提議,這將彌合研究和商業化之間的差距。該公司將作為 VitaDAO 的子公司或附屬公司運營。如果獲得批準,該提案將在 2023 年 4 月 3 日至 6 月 12 日之間進入為期 10 周的執行階段。據悉,這家名為 VitaTech 的公司將利用公共資金來許可美國大學開發的長壽技術,并支持它們的持續發展。[2023/4/6 13:46:54]
NFT生態系統可能會變得太大,以至于單個Rollup無法安全處理
NFT生態系統的任何部分,甚至整個NFT生態系統,都不是封閉的世界;他們將需要與以太坊生態系統的其他部分進行互操作
Vitalik為印度新冠援救運動捐贈100個枚ETH和100枚MKR:4月25日,Polygon聯合創始人Sandeep推特顯示,Vitalik為印度新冠援救運動捐贈超60萬美元加密貨幣。目前印度新冠疫情嚴重,Polygon聯合創始人Sandeep發起了援救運動,發動加密貨幣圈提供幫助。根據Etherscan信息,以太坊聯合創始人 Vitalik Buterin 已經捐贈已捐贈了 100 個 ETH 和 100 個 MKR。[2021/4/25 20:55:41]
這篇文章提出了一種關于如何使NFT跨Rollup友好的提案,允許NFT移動到整個Layer2生態系統。
提議的解決方案1
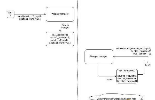
NFT將首先在一個Rollup中注冊。通過創建一個封裝NFT,NFT可以在其他Rollup之間跳轉。
ETC:ETC不再遵循Vitalik的愿景:以太坊經典官方發推表示:以太坊經典將不再遵循Vitalik的愿景及路線圖,不再以吸收以太坊1.0為目標。現在是ETC做出有意義的創新的時候了。[2020/11/24 21:55:32]
封裝NFT的過程如下:
在RollupA上,將NFT發送到封裝管理器合約,指定(i)目的地Rollup和(ii)初始所有者。密碼箱合約在存儲中保存一條記錄,為X分配一個新的序列號R,并保存目標Rollup和目標Rollup的初始所有者
在RollupB上,任何人都可以使用RollupB上的封裝管理器合約創建封裝NFT。創建一個封裝NFT需要指定源Rollup和序列號。創建X的一個「有效」封裝NFT只能由指定的所有者并通過聲明(R,A)作為序列號和源Rollup來完成。請注意,可能會創建一個無指向內容的無效封裝NFT;RollupB不知道什么是有效和無效。封裝管理器合約存儲元組并防止使用同一個元組創建多個NFT。
Vitalik最推崇作家大為·格雷伯去世:Vitalik Buterin最推崇作家、《債:第一個5000年》作者大為·格雷伯于9月2日去世,大衛?格雷伯認為唯有全面歷史地理解了債及其與暴力之間的關系,我們方能開始正確估量我們剛剛到來的新紀元。大為·格雷伯曾深入研究了虛擬貨幣的歷史,認為虛擬信用貨幣早在農耕帝國時代就是主導貨幣形式,利息貨幣的習慣同時也起源于蘇美爾,利息率固定為20%,2000年來一直保持穩定。在中世紀(公園600-1500年)虛擬信用貨幣回歸,而當今時代(1971以后)則是債的帝國。值得一提的是,占領華爾街運動也是大為·格雷伯組織的。[2020/9/4]
要從密碼箱中提取NFT,RollupB上的封裝-X的當前所有者必須將其發送回封裝管理器,后者會發出收據,說明「序列號為R、源匯總A和初始所有者O1的NFT剛剛接觸封裝,帶有想要的新所有者O2」。
密碼箱合約可以在收到匯總B上的收據的證明時將X交給O2,并根據自己存儲的信息檢查序列號、源Rollup和初始所有者,并驗證它是否通過。


請注意,提款會有一個時間延遲,因為OptimisticRollup狀態根需要大約1周的時間延遲才能最終確定,以便驗證收據。到目前為止,更快地進行多跳的唯一方法是進行多層封裝。
為了讓用戶驗證封裝-X是否合法,他們需要自己驗證RollupB上的狀態和RollupA上的收據。
擴展:添加跨Rollup傳輸
在匯總B上,wrapped-X的所有者可以將其發送給包裝管理器,并附上發出不同收據的指令:「序列號為R、源RollupA和初始所有者O1的NFT剛剛移至RollupC,與想要的新所有者O2」。
在RollupC上,任何人都可以通過指定原始源Rollup、序列號和初始所有者來制作封裝-X對象,并且RollupC上的此封裝-X可以自由交易。但是,為了能夠撤回封裝-X,需要將RollupB的收據發送到RollupA。
實際發生的事情是,當NFT從一個Rollup移動到另一個Rollup時,轉移鏈留下了一個收據鏈,該收據鏈中的每一個收據都被鏡像到RollupA并在某個時間點按順序處理。未來,當其他Rollup的狀態最終確定時。
為了讓用戶驗證封裝的X是合法的,他們需要驗證反映跨Rollup轉移的所有Rollup上的整個收據鏈。
此外請注意,該協議可以簡化:「提款」只是一個跨Rollup轉移RollupA,如果認識到RollupA發布的特定序列號現在在RollupA上,那么該封裝的合約可以直接兌換。
擴展2:基礎鏈上的gas優化發行
所有NFT都可以以這樣的方式發行,即它們由以太坊基礎鏈上的密碼箱合約「擁有」。為了使這種gas高效,密碼箱合約將獲得生成一整套序列號并將它們傳輸到Rollup的功能。實際上,所有NFT都是預先創建的,但尚未分配給其中任何一個「意義」,并且它們被批量轉移到Rollup。
「發行」的過程現在變成了賦予意義的過程。這可以通過在收據中傳遞「含義哈希」來完成,就像傳遞所有者的方式一樣:如果NFT沒有意義,所有者可以為其分配一個含義,轉動它變成了一個「差異化」的NFT。基礎鏈只有在驗證收據鏈后才知道NFT的含義,直到分配含義為止。
這允許所有NFT都在基礎鏈中「扎根」,而不是Rollup。這對于處理Rollup中斷或以其他方式變得不可行以及應用需要永久遷移到其他域的情況很有用。
據IPFS100報道,Filfox瀏覽器數據顯示,Filecoin網絡當前區塊高度為1072433,全網有效算力為10.031EiB,總質押量約為1.0646億枚FIL,活躍礦工數為3123個.
1900/1/1 0:00:00CryptoParrot發布了加密和區塊鏈工作的比例。市場、人力資源和管理的需求顯著增加。軟件和硬件開發的角色減少了近三分之一.
1900/1/1 0:00:00黨的十八大以來,以習近平同志為核心的黨中央高度重視中小企業發展,“十四五”規劃和2035年遠景目標綱要更是提出“創新金融支持民營企業政策工具,健全融資增信支持體系”.
1900/1/1 0:00:00在NFT大概保持了半年熱度之后,終于出現了一個刷屏級的項目Loot,也許因為Loot太過于奇特和魔幻。行業人士紛紛轉到朋友圈或各種DIY。這代表的是一種創新可能性.
1900/1/1 0:00:00NFT的價值究竟在哪里是?這一個仁者見仁的事情。BitwiseAssetManagement首席投資官MattHougan在推特上以英國先鋒藝術家達米安·赫斯特的作品「TheCurrency」為.
1900/1/1 0:00:002021年,虛擬藝術品《每一天:最初的5000天》以6934萬美元在佳士得拍賣行成交,刷新了虛擬藝術品拍賣成交紀錄,讓NFT成功“出圈”,依托區塊鏈基礎.
1900/1/1 0:00:00